西凤酒冲刺百亿“迟到”,股东变更能否焕发生机?
老牌“四大名酒”西凤酒“官宣”2023年实现了销售收入突破百亿,这与其他三家名酒相比晚了不止一步。
值得注意的是,据西部产权交易网披露,西凤酒2022年经审计后营收为59.19亿元,由此可见,西凤酒的百亿销售收入若转化为审计后的营业收入,能否达到百亿还需要观察。
尽管如此,西凤酒把下一个目标放在了“重回一流”上,明确提出“全国化、高端化”战略。但无论是拓展、培育省外市场,还是加码高端酒产能,资金支持都是最关键的因素之一。
经历了四次上市失败的西凤酒选择增资控股,近期公司官网披露的十大股东名单显示,一个新的身影出现了。
1
“迟到”的百亿
一月初,西凤酒董事长张正在经销商、供应商表彰大会上提到,2023年,西凤酒实现销售收入103.4亿元,同比增长23%,五年来年均增长率突破了20%。
这也意味着,曾与茅台、泸州老窖、山西汾酒同为“四大名酒”的西凤酒终于跨入的百亿阵营。
西凤的前身陕西省西凤酒厂于1956年建立,1999年酒厂改制为陕西西凤酒股份有限公司。2009年和2010年通过两次增资扩股,实现了股权多元化。目前,股份公司总资产突破80亿元。
早在建厂之前,西凤酒就已经广获赞誉。1915年,在美国旧金山巴拿马万国博览会上,西凤酒斩获了金质奖;1952年的第一次全国评酒会上,西凤酒获评国家级名酒,并于1963年、1978年、1983年和1989年蝉联了“国家名酒”称号。
然而,与同为“四大名酒”的茅台、泸州老窖、山西汾酒相比,西凤酒后来的发展轨迹颇有些“高开低走”的意味。这些企业纷纷在上世纪90年代末前后登陆资本市场,但西凤酒却没能跟上时代浪潮。
而在这个过程中,西凤酒逐渐被后起之秀超越。
Wind数据显示,公司2004-2006年营业收入分别为2.74亿元、4.28亿元和10.04亿元,2012-2017年营业收入分别为32.47亿元、36.75亿元、33.21亿元、28.03亿元、28.67亿元和31.70亿元。

图 / Wind(单位:万元)
此外,公司2012-2017年净利润分别为2.35亿元、2.56亿元、1.56亿元、2.63亿元、3.50亿元和4.48亿元。
以公司2017年的营收对比,Wind数据显示,A股白酒上市公司中,贵州茅台、五粮液、洋河股份、顺鑫农业、泸州老窖、古井贡酒、山西汾酒和口子窖共8家企业都已超过31.70亿元。净利润方面,有9家公司超过了西凤酒。


左右滑动查看更多
图 / Wind(单位:亿元)
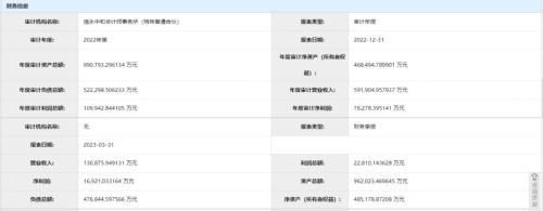
另据西部产权交易网披露,西凤酒2022年经审计后营收和净利润分别为59.19亿元和7.63亿元。

图 / 西部产权交易网
可见,如果2023年不能达到营收翻番,西凤酒的销售收入若转换为审计后的营收,距离百亿仍有差距。
另外,当茅台、泸州老窖、汾酒年营收均已超过250亿元时,西凤酒在A股市场上仍然“查无此人”,只剩下“借壳”的传说和“被借壳”企业的否认。
是什么让西凤酒掉了队?长期被市场诟病的策略在于外购基酒高企,以及成品酒委托合作厂商生产。
据西凤酒披露,2015年至2017年,公司外购基酒数量分别为21238.24吨、18179.56吨和19439.12吨,占其全部基酒的比率分别为68.03%、67.36%和70.31%。
2015年、2016年和2017年,公司合作生产产品的销售金额分别为3.82亿元、4.82亿元和5.08亿元,占营业收入的比重分别13.61%、16.80%和16.02%。
当然,西凤酒并不是不知道这样的生产方式暗藏隐患。
公司在2018年披露的招股书中表示,由于公司供应商数量相对较多,若公司无法有效控制个别供应商的行为,或公司不能检验出特定批次基酒的质量问题,将有可能影响公司产品质量,导致“西凤”品牌美誉度及消费者信心受损。
此外,若公司合作厂商在生产过程中存在不当行为,且公司无法有效控制合作厂商的该等行为,将可能导致“西凤”品牌美誉度及消费者信心受损,进而对本公司经营业绩产生不利影响。
而近期被广泛关注的“黄渤诉讼事件”,可谓是“多年前射出的子弹,现在正中眉心”。
虽然西凤酒对此回应称,此事件与西凤酒无关,属客户陕西秦皇御宴侵权纠纷。“西凤股份公司已向违规经销公司提出严正要求,必须查清责任,立即整改”,但经销公司涉诉,再次暴露出西凤酒在渠道管理和品牌经营等方面存在一定的问题。
事实上,在西凤酒最近一次披露招股书时就明确提到,共有股东经销商14家,合计持有发行人股权比例为7.55%,大多数为品牌经销商。
不过,从近期西凤酒的行动来看,公司对于经销商的管理已经开始有所收紧。
2023年4月西凤酒曾展开“护价”行动,在20天内密集处置了9家扰乱价格体系的经销商。同年5月,在公司发布的增资扩股计划中,也提到了经销商、供应商及两者关联方不能参与。
张正也公开表示“坚定不移明确管理制度、推动规范管理落地”,但管理效果到底如何,仍需时间观察。
2
重回一流
2019年,张正成为西凤酒掌门人后,正式提出了“3年破百亿”作战计划,并于2021年经销商大会上喊出“2022,跨越百亿,重回一流”的口号。
虽然西凤酒跨入“百亿阵营”的消息比预计迟到一年,但也无疑是令人振奋的。从近期西凤酒多位高管的发言来看,“重回一流”已经成为其当下最重要的事。
而张正在上任之初,就明确提出了“高端化、全国化”的计划。

图 / 西凤酒2018年招股书
这个方向无疑是正确的。据西凤酒披露的数据,2017年公司在陕西市场实现的主营业务收入占总主营业务收入的比重超过70%,中低档产品收入超过总营收半数。
白酒行业分析师蔡学飞认为,西凤酒营收破百亿元对于凤香品类、凤香产区,甚至是西北酒的发展都有直接的促进作用。
“但从客观来看,相较于其他百亿元体量的酒企,西凤酒存在高端产品占比较低、过度依赖陕西省内市场、省外市场开发缓慢,以及厂家对市场的主导权不足、市场精耕有待提高等问题。”蔡学飞对「界面新闻·创业最前线」表示。
仅以西北市场来看,金徽酒、伊力特、天佑德酒等都加大了向省外甚至西北之外市场的扩张。
近期西凤酒称,河南、山东等特区市场销售业绩同比增长均突破50%。北京、上海等高地市场的占有率翻倍增长,但并未公布具体数据。
从白酒市场的整体情况来看,“高端化和全国化”的策略不仅是西凤酒发展的方向,也已经成为很多酒企力争实现的目标。
与西凤酒宣布实现百亿时间相近的今世缘在投资者来访记录中提到,“做好了省外3至5年持续投入不盈利的准备。”
高端化方面,2019年,西凤酒推出升级后的"红西凤",定位千元价格带,又在2021年和2023年先后推出了"五星红西凤"和"红西凤1978",分别定价3998元、588元。
西凤酒方面透露,2023年,红西凤系列产品销售同比增长102%。
为了提高高端产品产量,西凤酒建设了10万吨优质基酒项目,该项目于2023年6月开工建设,预计2028年8月正式建成投产。据《陕西日报》报道,这一项目计划总投资为140亿元。
对于西凤酒们来说,无论是拓展、培育省外市场,还是加码高端酒产能,资金支持都是最关键的因素之一。
3
十大股东变更
如今仍未上市的西凤酒选择增资扩股。
2023年,5月26日,西部产权交易所披露的信息显示,西凤酒股份有限公司拟新增1亿股股份,占增资后总股本的20%,募集资金总额不低于27.2亿元。
本次增资扩股前,西凤酒的注册资本为4亿元,前三大股东分别为陕西西凤酒厂集团(44.03%)、长安汇通(15%)、盈信投资集团(4%)。
这次增资扩股用于西凤酒10万吨优质基酒及配套生产项目、西凤酒酿酒工业遗产群提升改造项目、西凤酒博物馆和商务研发中心等品牌提升项目、补充流动资金。

图 / 西部产权交易所网站
值得注意的是,在2023年7月还位列西凤酒第三大股东的盈信投资集团近期已经消失在前十大股东的名单中。

图 /西凤酒官网
名单显示,目前公司第三大股东变更为李辉,持股比例由此前的3.6%增至4.85%。而公司的第四大股东则是新进的西安市糖酒集团,巧合的是,西安市糖酒集团的持股数量和比例恰好与之前盈信投资集团持股相等。
说到西安糖酒,其最为著名的产品就是冰峰饮料。与西凤酒颇为相似的是,冰峰也曾遭遇了冲击IPO失败,招股书显示,其产品销售区域多集中于省内。
西安糖酒和盈信的真正交集在于林劲峰,这位早年以1200万元投资贵州茅台,成为其第六大股东的投资大佬,既是盈信投资的法人,也是盈信国富的总经理,而盈信国富在2015年成为西安糖酒集团的第一大股东,持股35.71%。
实际上,林劲峰与西凤酒的渊源颇深。
在2016年盈信董事会报告里,林劲峰写到:“因为之前投资陕西西凤酒集团,我经常去西安。大家也知道,我爱逛商场和大街小巷的零售店,逛了几次之后,我发现‘冰峰’汽水这个品牌不得了,渠道铺货率90%以上,动销旺盛,品牌知名度和美誉度几乎满分。我当时就通过西凤酒集团秦董事长的介绍直接登门拜访张总(冰峰董事长)……以致后来迅速地完成了盈信当时最大规模的对外投资。”
对于盈信是否退出了西凤酒股东,此次股东变动对企业发展有何影响,「界面新闻·创业最前线」记者向西凤酒党委宣传部长发去采访问题,但截至发稿未获回复。
增资扩股、引入股东投资,可以说是西凤酒至今未能上市的“弥补措施”。自2012年至2018年,西凤酒4次冲击IPO均以失败告终。
西凤酒第一次冲击上市在2012年,但被媒体曝光在2010年的财务业绩上造假,当年度实际亏损4.2亿元,因此不满足IPO“连续三年盈利”的硬性条件。
2016年,虽然有中信产投的帮助,但西凤酒招股说明书显示,2012年-2014年营收和净利呈下滑趋势,财务高管也被爆出多次挪用银行承兑汇票。
2017年,西凤酒又陷入了“贪腐风波”,原总经理张锁祥、原副总经理高波因贪污、行贿等被判刑,经销商郝海录、丁济民通过行贿获得原始股被判刑。
时隔一年后,西凤酒再次冲击IPO,虽然招股书和高管都没出问题,但一份检测报告显示西凤酒旗下一款年份酒存在塑化剂超标三倍的情况,西凤酒最终出现在了证监会首次公开发行中止审查名单。
那么此次,经过增资扩股、引入了西安糖酒集团的西凤酒,能否借势焕发生机?「界面新闻·创业最前线」将保持关注。
本文源自:创业最前线

